Hand Lay-up (Composites)

Hand Lay-up (Composites)

Hand lay-up digunakan ketika dibutuhkan komponen plastik berukuran besar, terutama jika komponen tersebut harus memiliki kekakuan dan kekuatan yang tinggi. Proses ini merupakan salah satu metode pembuatan komposit yang sangat berkaitan dengan liquid resin casting.

Skema salah satu metode yang digunakan pada sistem pendispensing otomatis untuk resin termoset
Proses hand lay-up untuk pembuatan komponen berpenguatan tinggi menggunakan mat serat dan resin cair termoset

Pada proses ini, kain atau mat penguat—umumnya fiberglass—ditempatkan di dalam cetakan terbuka atau di atas sebuah bentuk. Resin cair dengan viskositas cukup tinggi kemudian dituangkan ke atas kain penguat tersebut hingga membasahi seluruh permukaan dan menembus anyaman serat. Pada tahap ini, udara yang terperangkap harus diminimalkan agar kualitas produk tetap baik. Setelah resin mengeras, produk dikeluarkan dari cetakan, dipangkas seperlunya, dan selanjutnya siap digunakan.

Proses hand lay-up banyak digunakan dalam industri pembuatan perahu. Mulai dari perahu layar kecil, perahu nelayan, kano, dan kayak, hingga kapal layar berukuran besar, kapal nelayan komersial, bahkan kapal pendarat militer, semuanya dapat diproduksi dengan metode ini.

Seiring berkembangnya teknologi, proses hand lay-up juga dapat diotomatisasi sesuai kebutuhan produksi. Otomatisasi dapat melibatkan penggunaan mesin penakaran, pencampuran, dan pendistribusian resin cair. Selain itu, cetakan berpasangan dapat digunakan untuk menghasilkan permukaan produk yang halus dan seragam di kedua sisi. Sistem pendukung lain seperti konveyor dan oven curing juga dapat diterapkan untuk meningkatkan efisiensi proses.

Compression Molding

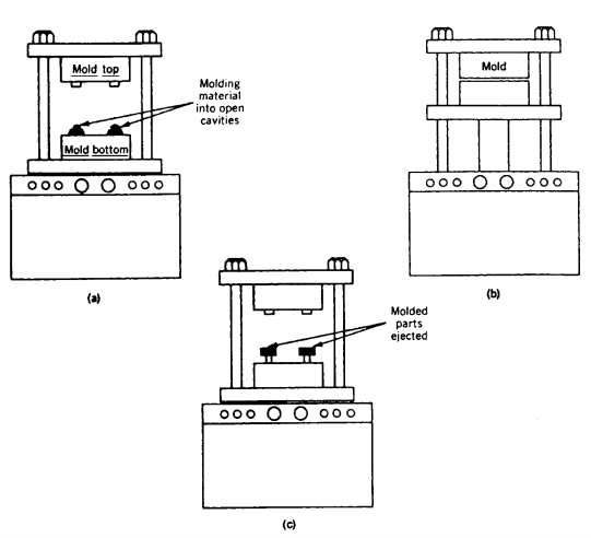
Compression molding merupakan proses pembentukan plastik yang prinsip kerjanya menyerupai pembuatan waffle. Pada proses ini, material cetak yang umumnya berupa bahan termoset seperti fenolik, melamin, atau urea dimasukkan dalam bentuk butiran ke dalam bagian bawah cetakan yang dipanaskan. Bagian atas cetakan yang juga panas kemudian ditekan hingga kedua bagian cetakan hampir menyatu, sehingga material mengalir ke seluruh rongga cetakan dan mengalami proses curing akibat panas dan tekanan.

Urutan proses compression molding: (a) material cetak ditempatkan ke dalam rongga cetakan yang terbuka; (b) mesin press menutup cetakan dan menekan material di dalam cetakan panas hingga mengalami proses curing; dan (c) mesin press membuka cetakan dan produk hasil cetakan dikeluarkan dari rongga cetakan

Setelah proses curing selesai, cetakan dibuka dan produk dikeluarkan, kemudian siklus pencetakan diulangi. Proses compression molding dapat dilakukan secara manual, semi-otomatis, maupun sepenuhnya otomatis, tergantung pada peralatan yang digunakan. Cetakan biasanya dibuat dari baja yang dikeraskan, dipoles halus, dan dilapisi hard chrome. Cetakan ini dipasang pada mesin press hidrolik yang mampu memberikan gaya tekan besar agar material dapat mengalir dengan sempurna.

Cetakan pada compression molding dapat berupa satu rongga atau multi-rongga. Mesin press harus memiliki tonase yang cukup untuk menghasilkan tekanan hingga sekitar 300 kg/cm² untuk material fenolik, dan lebih rendah untuk poliester. Waktu siklus pencetakan bergantung pada jenis material, ketebalan produk, dan temperatur cetakan. Produk dengan ketebalan sekitar 3 mm dapat dicetak dalam waktu kurang lebih satu menit, sedangkan produk yang jauh lebih tebal dapat memerlukan waktu hingga lima atau enam menit.

Compression molding umumnya digunakan untuk produksi massal karena biaya mesin dan cetakan yang relatif tinggi. Mesin press semi-otomatis dengan tonase sedang dapat bernilai puluhan ribu dolar, begitu pula dengan cetakan multi-rongga yang kompleks. Oleh karena itu, proses ini banyak diterapkan pada produk-produk yang diproduksi dalam jumlah besar.

Aplikasi umum compression molding meliputi peralatan makan dari melamin, kaki pemanggang roti dari bahan fenolik, gagang panci, serta berbagai komponen listrik seperti stopkontak, pelat dinding, dan sakelar. Produk-produk tersebut membutuhkan sifat khas material termoset seperti kekakuan, kestabilan dimensi, ketahanan panas, dan kemampuan isolasi listrik.

Untuk meningkatkan efisiensi, material cetak sering kali dipadatkan terlebih dahulu menjadi preform atau pill. Preform ini kemudian dipanaskan menggunakan energi listrik frekuensi tinggi dalam unit yang disebut preheater. Pemanasan awal ini dapat mempercepat proses curing, mengurangi keausan cetakan, serta meningkatkan kualitas produk akhir. (by : niginashq) #plasticpallet #plasticrecycle #bumimulia #paletplastik #blowmolding #injectionmolding #injectionstretchblowmolding #molding #extrusion #extrusionprocess

Source : Modern Plastic Handbook (Charles A. Harper)